(锦绣御景国际)地下室底板防水工程技术
一、工程概况
锦绣御景国际二期高层地下室底板是属敏捷地产开发公司在广州增城重点投资建设高层时尚小区。由于该工程防水质量高,因此要求施工单位有实力、能力确保防水施工质量和进度。
二、施工范围及防水材料的确定
1、 施工范围
地下室底板部位防水工程。
2、 防水材料确定
该工程地下室底板、侧墙防水施工采用DYC自粘改性沥青防水卷材,厚度为3mm。
三、大禹DYC 湿铺法双面自粘防水卷材简介
DYC湿铺法(又称埋贴式)双面自粘防水卷材系统是大禹公司自主研发的一种最适用于地下工程的先进的防水系统。该系统以普通的聚合物水泥砂浆作为粘结剂,以具有独特粘结机理的高分子聚合物改性沥青双面自粘卷材为防水材料,辅之其它配套材料。构成了DYC湿铺法防水系统。目前,传统的防水卷材(如SBS. APP. PVC.三元乙丙橡胶卷材等),由于存在与基层粘结不牢的问题,施工过后,一旦防水层有破损,水就会在卷材下面到处流窜,维修十分困难。而DYC湿铺法双面自粘卷材利用独特工艺配方制成的自粘胶料与下层的水泥砂浆及上层的水泥结构层都能形成超强的粘结性,能有效地避免起壳、空鼓等缺陷的产生,大大地提高了卷材的防水质量。因此,也从根本上解决了传统卷材的“窜水”现象。
其次,DYC自粘卷材防水系统的最大优点还在于能在潮湿面上施工。传统卷材都要求施工基面干燥,施工前“怕水”,而DYC防水系统却不怕水,就是刚下过大雨后的基面擦干后也能照常施工,其适用范围大大增加。
四、DYC-自粘防水卷材施工工艺
1、基面要求
* 将基层杂物、浮浆清扫干净,找平层必须平整。
* 基面进行防水施工时应干燥。
* 屋面阴阳角水泥砂找平层必须做成圆弧,钢筋头必须补偿收缩嵌缝砂浆;
* 找平层不得有松落、空鼓、起尘等现象;
* 施工采取由低向高,先承台后底板原则。
2、材料准备
DYC-自粘防水卷材
3、施工机具
专用压辊、橡胶滚筒、墙纸刀等。
4、施工步骤
* 清理找平层
* 将基层杂物、浮浆清扫干净,找平层必须平整。
* 基面进行防水施工时应干燥。
* 先进行节点处防水加强处理,然后再进行大面积防水层施工。
5、工艺详解
(1)、施工工艺流程:基层处理 → 抹水泥(防水)砂浆 → 揭掉湿可贴DYC自粘防水卷材下表面的隔离膜 → 铺湿可贴DYC自粘防水卷材 → 拍打卷材上表面、提浆 → 晾放(24小时至48小时) → 对接口密封 → 节点加强处理 → 质量验收;
(2)、基层处理:基层表面应先作处理,使基层坚实、干净,并充分湿润,无积水。
(3)、抹水泥砂浆:其厚度一般为10㎜~20㎜(视基层平整情况而定),铺抹时应注意压实、抹平。在阴角处,应抹成半径为50mm以上的圆角。铺抹水泥砂浆的宽度比卷材的长、短边宜各宽出100~300mm,并在铺抹过程中利用导轨保证平整度。
(4)、揭掉湿可贴DYC自粘防水卷材下表面的隔离膜。
(5)、铺湿可贴DYC自粘防水卷材:将湿可贴DYC自粘防水卷材平铺在水泥砂浆上。卷材与相邻卷材之间为平行对接,对接缝应尽量拼严。(当采用搭接方式时,将下层卷材上表面搭接部位隔离膜及上层卷材下表面隔离膜揭除,然后搭接密实。)
(6)、拍打卷材上表面、提浆:用木抹子或橡胶板拍打卷材上表面,提浆,排出卷材下表面的空气,使卷材与水泥砂浆紧密贴合。
(7)、晾放:晾放24小时至48小时(具体时间视环境温度而定,一般情况下,温度愈高所需时间愈短)。
(8)、对接口密封:采用附加自粘封口条密封。对接口密封时,先将卷材搭接部位上表面的隔离膜揭除,再粘贴附加自粘封口条。若搭接部位被污染,需先清理干净。(当上、下层卷材之间采用搭接方式时,无需自粘封口条。)
(9)、 湿可贴DYC防水卷材在立墙上铺贴时,在卷材收口处应临时密封(可用胶带或加厚水泥浆密封),以防止立墙收头处水份过快散失。
(10)、节点加强处理:节点处在大面卷材施工完毕后进行加强处理。
五、施工注意事项
* 进场材料必须有出厂产品合格证、厂方提供的材料性能检测报告。
* 材料应在温度为0~40℃的通风干燥处保存,堆放高度小于2.5m,避免风吹、日晒、雨淋。
* 施工时卷材表面不允许有油污、浮土、积水等。
* 现场必须配备灭火装置。
* 施工现场严禁抽烟或使用明火。
* 粘接材料及其它施工机具应在通风干燥处保存,不得受潮。
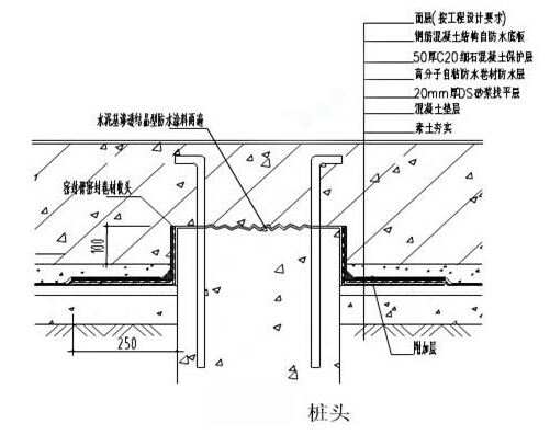
附细部构造、节点图:






微信公众号
手机二维码